用手工操縱焊條進行焊接的電弧焊方法,稱為手弧焊。手弧焊的焊接工藝過程如圖4.1.2所示。在電弧高溫的作用下,焊條和被焊工件(母材)同時熔化成為熔池。電弧熱還使焊條的藥皮熔化及燃燒。藥皮熔化后和液體金屬起物理化學作用,所形成的熔渣不斷地從熔池中向上浮起,藥皮燃燒產生的大量CO2氣流圍繞在電弧周圍,熔渣和氣流可防止空氣中氧、氮的侵入,起保護熔化金屬的作用。

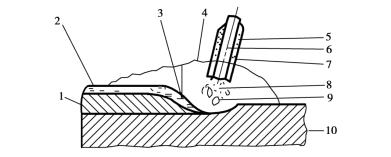
圖4.1.2 手工電弧焊示意圖
1—已凝固的焊縫金屬 2—熔渣 3—熔化金屬4—焊條藥皮燃燒產生的保護氣體 5,7—焊條藥皮6—焊條芯 8—電弧 9—金屬熔滴 10—母材
當電弧向前移動時,工件和焊條金屬不斷熔化匯成新的熔池。原先的熔池則不斷地冷卻凝固,構成連續(xù)的焊縫。覆蓋在焊縫表面的熔渣也逐漸凝固成為固態(tài)渣殼,這層熔渣和渣殼對焊縫成型好壞和減緩焊縫的冷卻速度有著重要的作用。
上述焊接過程直至焊縫被焊完為止。焊后敲去渣殼,即可露出表面呈魚鱗紋狀的焊縫金屬。
贊 0













